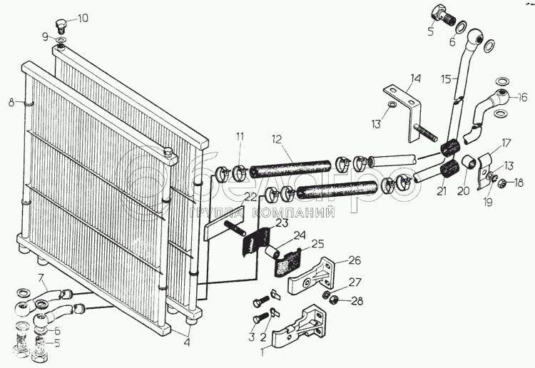
Каталог запасных частей к технике: ЧТЗ Т-170М-01. Установка масляных радиаторов

zoom-in zoom-out enlarge shrink circle-right circle-left file-text2 info cart arraw right arraw left zoom out zoom in arraw maximize arraw minimize
1
2
3
4
5
5
6
6
7
8
9
10
11
12
12
13
13
14
15
16
17
18
19
20
21
22
23
23
24
25
26
27
28
50-09-135-СП
Труба
В узле: 1
50-09-134-СП
Труба
В узле: 1
24-304СП
Установка радиаторов
В узле: 1
1
50-08-21
Кронштейн
В узле: 2
2
700-31-2213-01
Шайба
В узле: 8
3
Болт М10х30.58.019
Болт М10х30.58.019
В узле: 8
4
130У.09.012
Радиатор масляный
В узле: 2
5
700-41-3306
Болт полый
В узле: 4
6
Кольцо 22 х. 30
Кольцо 22 х. 30
В узле: 8
7
50-09-132-СП
Труба
В узле: 2
8
46250
Кольцо
В узле: 4
9
31497
Шайба
В узле: 2
10
37122
Пробка
В узле: 2
11
700-41-2235-11СП
Хомут
В узле: 4
12
700-46-2180
Рукав
В узле: ---
12
700-46-2181
Рукав
В узле: 1
13
31308-1
Шайба
В узле: 3
14
50-09-133-СП
Кронштейн
В узле: 1
15
50-09-130-СП
Труба
В узле: 1
16
50-09-131-СП
Труба
В узле: 1
17
50-60-230
Прижим
В узле: 1
18
Гайка М10.6.019
Гайка М10.6.019
В узле: 1
19
Шайба 10 ОТ 65Г 09
Шайба 10 ОТ 65Г 09
В узле: 1
20
41832
Втулка
В узле: 1
21
42212
Муфта
В узле: 2
22
24-08-152-СП
Скоба
В узле: 4
23
700-40-3137
Прокладка
В узле: 4
23
700-40-3137
Прокладка
В узле: 4
24
24-08-5
Втулка
В узле: 4
25
700-40-3238-1
Прокладка
В узле: 4
26
24-08-100
Кронштейн
В узле: 2
27
Шайба 12 ОТ 65Г 09
Шайба 12 ОТ 65Г 09
В узле: 6
28
3011
Гайка
В узле: 6
Содержащиеся в справочниках-каталогах запасные части и детали не предлагаются к продаже, а носят исключительно информационный характер

Ваша заявка была отправлена. В ближайшее время наши специалисты с Вами свяжутся по указанному Вами телефону.

Представьтесь
Поле обязательно для заполнения
Ваш телефон
Введите правильный номер телефона
E-mail
Введите правильный e-mail
Тема
Тема
применяемость финансирование доставка цена, наличие другое сервис и гарантия
Время для звонка
08:00
08:00 09:00 10:00 11:00 12:00 13:00 14:00 15:00 16:00 17:00 18:00 19:00
19:00
08:00 09:00 10:00 11:00 12:00 13:00 14:00 15:00 16:00 17:00 18:00 19:00

Мы постараемся перезвонить в указанное время

Если вы не хотите ждать, то звоните нашим вежливым консультантам:

8 800 100-2-700
Подтвердите, что вы не робот
Подтвердите, что вы не робот
Спасибо!

Ваше сообщение успешно отправлено!

ЗакрытьПовторить попытку