Каталог запасных частей к технике: МТЗ МЛ-131. Опора

zoom-in zoom-out enlarge shrink circle-right circle-left file-text2 info cart arraw right arraw left zoom out zoom in arraw maximize arraw minimize
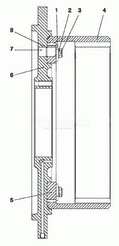
МЛ131-2402160
1
2
3
4
5
6
7
8
МЛ131-2402160
Опора
В узле: ---
1
МЛ131-2402143
Планка
В узле: 9
2
МЛ131-2402144
Планка стопорная
В узле: 9
3
МЛ131-2402141
Болт
В узле: 18
4
МЛ131-2402147
Шестерня эпициклическая
В узле: 1
5
МЛ131-2402146
Диск зубчатый
В узле: 1
6
МЛ131-2402161
Опора
В узле: 1
7
МЛ131-2402162
Штифт
В узле: 2
8
54.38.619
Кольцо
В узле: 2
Содержащиеся в справочниках-каталогах запасные части и детали не предлагаются к продаже, а носят исключительно информационный характер

Ваша заявка была отправлена. В ближайшее время наши специалисты с Вами свяжутся по указанному Вами телефону.

Представьтесь
Поле обязательно для заполнения
Ваш телефон
Введите правильный номер телефона
E-mail
Введите правильный e-mail
Тема
Тема
применяемость финансирование доставка цена, наличие другое сервис и гарантия
Время для звонка
08:00
08:00 09:00 10:00 11:00 12:00 13:00 14:00 15:00 16:00 17:00 18:00 19:00
19:00
08:00 09:00 10:00 11:00 12:00 13:00 14:00 15:00 16:00 17:00 18:00 19:00

Мы постараемся перезвонить в указанное время

Если вы не хотите ждать, то звоните нашим вежливым консультантам:

8 800 100-2-700
Подтвердите, что вы не робот
Подтвердите, что вы не робот
Спасибо!

Ваше сообщение успешно отправлено!

ЗакрытьПовторить попытку