Каталог запасных частей к технике: МТЗ МЛ-131. Редуктор

zoom-in zoom-out enlarge shrink circle-right circle-left file-text2 info cart arraw right arraw left zoom out zoom in arraw maximize arraw minimize
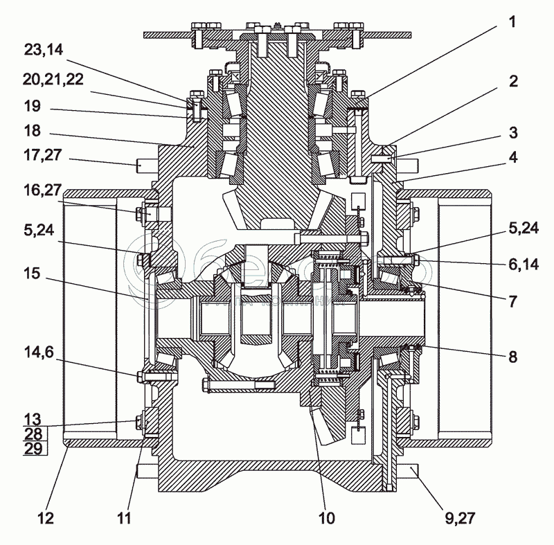
МЛ131-2402010
1
2
3
4
5
5
6
6
7
8
9
10
11
12
13
14
14
14
15
16
17
18
19
20
21
22
23
24
24
27
27
27
28
29
8
142-1701381
Кольцо
В узле: 2
142-1701381 кольцо уплотнительное <10 шт. 571.78 р.
МЛ131-2402010
Редуктор
В узле: ---
1
МЛ131-2402100
Шестерня ведущая
В узле: 1
2
МЛ131-2402013
Прокладка
В узле: 1
3
BM10-6gx30.58.019
Винт
В узле: 3
4
МЛ131-2402160
Опора
В узле: 1
5
МЛ131-2401012
Прокладка регулировочная
В узле: 8
6
МЛ131-2401013
Планка стопорная
В узле: 6
7
МЛ131-2402180
Крышка
В узле: 1
9
МЛ131-2402016
Штифт
В узле: 2
10
МЛ131-2403010
Дифференциал
В узле: 1
11
МЛ131-2402146
Диск зубчатый
В узле: 2
12
МЛ131-2402147
Шестерня эпициклическая
В узле: 2
13
МЛ131-2402141
Болт
В узле: 36
14
M12-6gx40.88.35.019
Болт
В узле: 24
15
МЛ131-2401011
Крышка
В узле: 1
16
МЛ131-2402162
Штифт
В узле: 2
17
МЛ131-2402016-01
Штифт
В узле: 2
18
МЛ131-2402090
Корпус
В узле: 1
19
200-205-36-2-2
Кольцо
В узле: 2
20
МЛ131-2402014
Прокладка регулировочная
В узле: 4
21
МЛ131-2402014-01
Прокладка регулировочная
В узле: 6
22
МЛ131-2402014-02
Прокладка регулировочная
В узле: 6
23
4598160068
Шайба 120Т
В узле: 12
24
МЛ131-2401012-01
Прокладка регулировочная
В узле: 8
27
54.38.619
Кольцо
В узле: 6
28
МЛ131-2402143
Планка
В узле: 9
29
МЛ131-2402144
Планка стопорная
В узле: 9
Содержащиеся в справочниках-каталогах запасные части и детали не предлагаются к продаже, а носят исключительно информационный характер

Ваша заявка была отправлена. В ближайшее время наши специалисты с Вами свяжутся по указанному Вами телефону.

Представьтесь
Поле обязательно для заполнения
Ваш телефон
Введите правильный номер телефона
E-mail
Введите правильный e-mail
Тема
Тема
применяемость финансирование доставка цена, наличие другое сервис и гарантия
Время для звонка
08:00
08:00 09:00 10:00 11:00 12:00 13:00 14:00 15:00 16:00 17:00 18:00 19:00
19:00
08:00 09:00 10:00 11:00 12:00 13:00 14:00 15:00 16:00 17:00 18:00 19:00

Мы постараемся перезвонить в указанное время

Если вы не хотите ждать, то звоните нашим вежливым консультантам:

8 800 100-2-700
Подтвердите, что вы не робот
Подтвердите, что вы не робот
Спасибо!

Ваше сообщение успешно отправлено!

ЗакрытьПовторить попытку