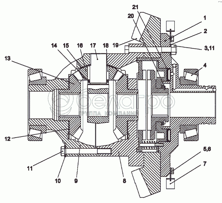
Каталог запасных частей к технике: МТЗ МЛ-131. Редуктор. Дифференциал

zoom-in zoom-out enlarge shrink circle-right circle-left file-text2 info cart arraw right arraw left zoom out zoom in arraw maximize arraw minimize
МЛ131-2403010
1
2
3
4
5
6
7
8
9
10
11
11
12
13
14
15
16
17
18
19
20
21
20
2С70
Кольцо
В узле: 1
2С70 Кольцо (915214) ГОСТ 13940-86, МТЗ Под заказ 131.72 р.
11
2522-2403034
Болт
В узле: 16
2522-2403034 Болт <10 шт. 542.09 р.
2
2522-2403023
Пластина стопорная
В узле: 8
2522-2403023 Пластина стопорная Под заказ 350.69 р.
14
2522-2403063
Втулка
В узле: 4
2522-2403063 Втулка МТЗ Под заказ 594.26 р.
МЛ131-2403010
Дифференциал
В узле: ---
1
МЛ131-2403050
Корпус блокировки
В узле: 1
3
М12-6Н.6.019
Гайка
В узле: 16
4
7517А
Подшипник
В узле: 2
5
M10-6gx20.88.35.019
Болт
В узле: 6
6
4598186067
Шайба 10 ОТ
В узле: 6
7
МЛ131-2403080
Крыльчатка
В узле: 1
8
МЛ131-2403061
Корпус дифференциала
В узле: 1
9
МЛ131-2403062
Крышка дифференциала
В узле: 1
10
2522-2403024
Пластина стопорная
В узле: 4
12
2522-2403049
Шайба
В узле: 2
13
2522-2403048
Шестерня полуосевая
В узле: 2
15
2522-2403025-Б
Шайба сателлита
В узле: 4
16
2522-2403055
Сателлит
В узле: 4
17
2522-2403062
Крестовина
В узле: 1
18
5х29.8А2
Ролик
В узле: 100
19
МЛ131-2402011
Шестерня ведомая
В узле: 1
21
МЛ131-2403057
Манжета
В узле: 1
Содержащиеся в справочниках-каталогах запасные части и детали не предлагаются к продаже, а носят исключительно информационный характер

Ваша заявка была отправлена. В ближайшее время наши специалисты с Вами свяжутся по указанному Вами телефону.

Представьтесь
Поле обязательно для заполнения
Ваш телефон
Введите правильный номер телефона
E-mail
Введите правильный e-mail
Тема
Тема
применяемость финансирование доставка цена, наличие другое сервис и гарантия
Время для звонка
08:00
08:00 09:00 10:00 11:00 12:00 13:00 14:00 15:00 16:00 17:00 18:00 19:00
19:00
08:00 09:00 10:00 11:00 12:00 13:00 14:00 15:00 16:00 17:00 18:00 19:00

Мы постараемся перезвонить в указанное время

Если вы не хотите ждать, то звоните нашим вежливым консультантам:

8 800 100-2-700
Подтвердите, что вы не робот
Подтвердите, что вы не робот
Спасибо!

Ваше сообщение успешно отправлено!

ЗакрытьПовторить попытку