Каталог запасных частей к технике: МТЗ-320 МК. Оборудование щеточное

zoom-in zoom-out enlarge shrink circle-right circle-left file-text2 info cart arraw right arraw left zoom out zoom in arraw maximize arraw minimize
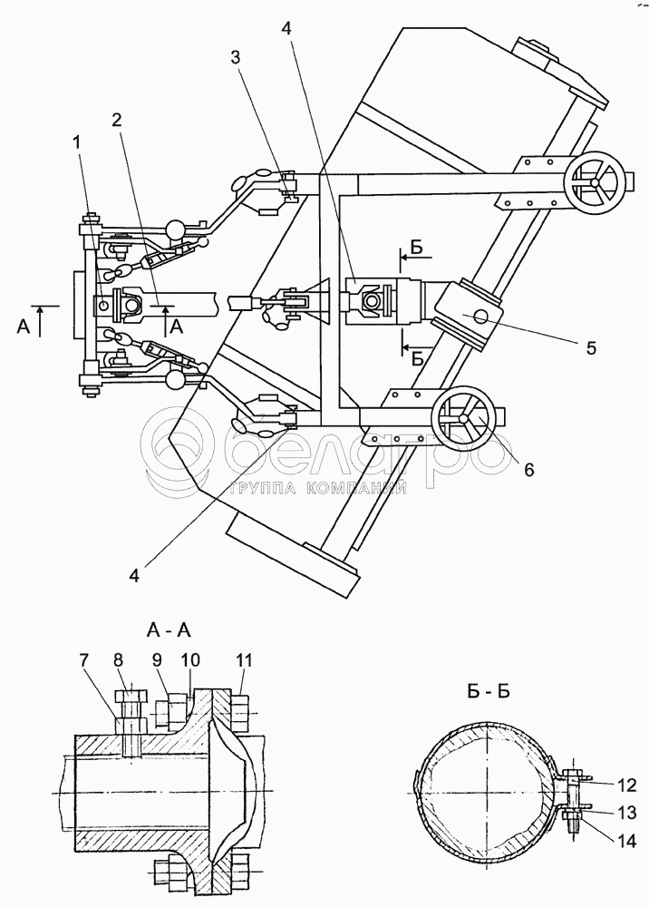
Щ15-4714005-Б
1
2
3
4
4
5
6
7
8
9
10
11
12
13
14
Щ15-4714005-Б
Оборудование щеточное
В узле: 1
1
Щ15-4714015-01
Фланец
В узле: 1
2
352-2102010-Б3
Вал карданный
В узле: 1
3
82.6-4714007
Палец
В узле: 2
4
82.6-4714090
Ограждение
В узле: 1
5
Щ15-4714010-Б
Щетка с приводом
В узле: 1
6
Щ15-4714120-Б
Каток опорный
В узле: 2
7
М10-6Н.6.019
Гайка
В узле: 1
8
M10-6gx25.88.35.019
Болт
В узле: 1
9
М12-6Н.6.019
Гайка
В узле: 8
10
4598166048
Шайба 12 ОТ
В узле: 8
11
M12-6gx35.88.35.019
Болт
В узле: 8
12
M8-6gx50.88.35.019
Болт
В узле: 1
13
4598166046
Шайба 8Т
В узле: 1
14
М8-6Н.6.019
Гайка
В узле: 1
Содержащиеся в справочниках-каталогах запасные части и детали не предлагаются к продаже, а носят исключительно информационный характер

Ваша заявка была отправлена. В ближайшее время наши специалисты с Вами свяжутся по указанному Вами телефону.

Представьтесь
Поле обязательно для заполнения
Ваш телефон
Введите правильный номер телефона
E-mail
Введите правильный e-mail
Тема
Тема
применяемость финансирование доставка цена, наличие другое сервис и гарантия
Время для звонка
08:00
08:00 09:00 10:00 11:00 12:00 13:00 14:00 15:00 16:00 17:00 18:00 19:00
19:00
08:00 09:00 10:00 11:00 12:00 13:00 14:00 15:00 16:00 17:00 18:00 19:00

Мы постараемся перезвонить в указанное время

Если вы не хотите ждать, то звоните нашим вежливым консультантам:

8 800 100-2-700
Подтвердите, что вы не робот
Подтвердите, что вы не робот
Спасибо!

Ваше сообщение успешно отправлено!

ЗакрытьПовторить попытку