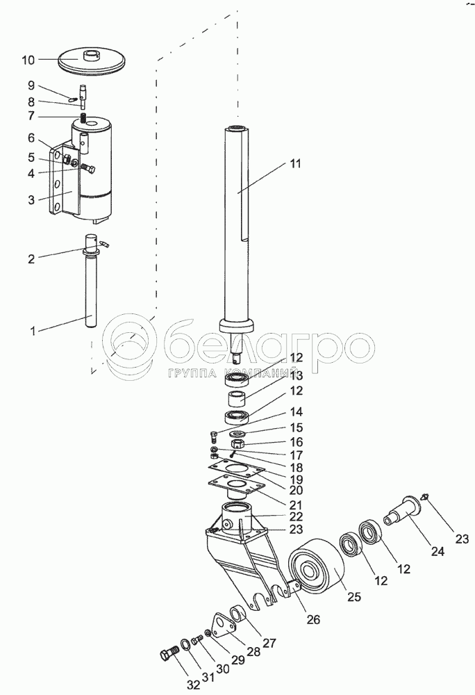
Каталог запасных частей к технике: МТЗ-320 МК. Опорный каток

zoom-in zoom-out enlarge shrink circle-right circle-left file-text2 info cart arraw right arraw left zoom out zoom in arraw maximize arraw minimize
82.6-4714503-Б
1
2
3
4
5
6
7
8
9
10
11
12
12
12
12
13
14
15
16
17
18
19
20
21
22
23
23
24
25
26
27
28
29
30
31
32
82.6-4714503-Б
Опорный каток
В узле: 2
1
82.6-4714503-Б
Опорный каток
В узле: 1
2
6915625
Шпонка 6x6x18
В узле: ---
3
82.6-4714520
Стакан
В узле: 1
4
M16-6gx40.88.35.018
Болт
В узле: 12
5
4598166070
Шайба 16ОТ
В узле: 12
6
М16-6Н.6.019
Гайка
В узле: 12
7
82.6-4714516
Пружина
В узле: 1
8
82.6-4714517
Рукоятка
В узле: 1
9
82.6-4714518
Шток
В узле: 1
10
82.6-4714180
Маховик
В узле: 1
11
Щ15-4714140-В
Стойка
В узле: 1
12
80205
Подшипник
В узле: 4
13
Щ15-4714127
Втулка
В узле: 1
14
M8-6gx20.88.35.019
Болт
В узле: 4
15
Щ15-4714121
Шайба
В узле: 1
16
М16-6Н.04.019
Гайка
В узле: 1
17
4598166046
Шайба 8Т
В узле: 4
18
4x36.019
Шплинт
В узле: 1
19
М8-6Н.6.019
Гайка
В узле: 4
20
Щ5-4714122
Прокладка
В узле: 1
21
Щ15-4714150
Крышка
В узле: 1
22
Щ15-4714160
Вилка
В узле: 1
23
1.3.ц9.хр
Масленка
В узле: 2
24
Щ15-4714124
Ось
В узле: 1
25
Щ15-4714170
Колесо
В узле: 1
26
ТЩ5-4714128
Планка
В узле: 1
27
Щ15-4714126
Втулка
В узле: 1
28
Щ15-4714119
Планка
В узле: 1
29
4598166045
Шайба 6Т
В узле: 4
30
M6-6gx14.88.35.019
Болт
В узле: 4
31
4598166068
Шайба 12ОТ
В узле: 1
32
M12-6gx25.88.35.019
Болт
В узле: 1
Содержащиеся в справочниках-каталогах запасные части и детали не предлагаются к продаже, а носят исключительно информационный характер

Ваша заявка была отправлена. В ближайшее время наши специалисты с Вами свяжутся по указанному Вами телефону.

Представьтесь
Поле обязательно для заполнения
Ваш телефон
Введите правильный номер телефона
E-mail
Введите правильный e-mail
Тема
Тема
применяемость финансирование доставка цена, наличие другое сервис и гарантия
Время для звонка
08:00
08:00 09:00 10:00 11:00 12:00 13:00 14:00 15:00 16:00 17:00 18:00 19:00
19:00
08:00 09:00 10:00 11:00 12:00 13:00 14:00 15:00 16:00 17:00 18:00 19:00

Мы постараемся перезвонить в указанное время

Если вы не хотите ждать, то звоните нашим вежливым консультантам:

8 800 100-2-700
Подтвердите, что вы не робот
Подтвердите, что вы не робот
Спасибо!

Ваше сообщение успешно отправлено!

ЗакрытьПовторить попытку