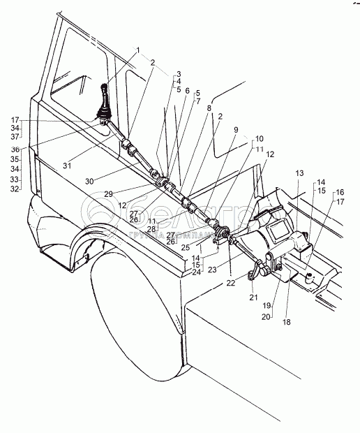
Каталог запасных частей к технике: МЗКТ-8006. Привод управления механизмом переключения передач

zoom-in zoom-out enlarge shrink circle-right circle-left file-text2 info cart arraw right arraw left zoom out zoom in arraw maximize arraw minimize
1
2
2
3
4
5
5
6
7
8
9
10
11
11
12
12
13
14
14
15
15
16
17
17
18
19
20
21
22
23
24
25
26
26
27
27
28
29
30
31
32
33
34
34
35
36
37
79301-1703272
Кронштейн
В узле: 1
0000-1703202
Подшипник ШС-25 К
В узле: 1
264072
Масленка 1.1.Ц6
В узле: 1
7930-1703282
Муфта регулировочная
В узле: 1
7930-1703283
Муфта регулировочная
В узле: 1
7930-1703284
Муфта
В узле: 1
1
64221-1703410-01
Рычаг
В узле: 1
2
7930-1703280
Муфта регулировочная
В узле: 2
3
201424
Болт М6-6gх30
В узле: 4
4
250508
Гайка М6-6Н
В узле: 4
5
252134
Шайба 6Т
В узле: 6
6
7929-1703450
Крышка
В узле: 1
7
201418
Болт М6-6gх16
В узле: 2
8
8006-1703487
Тяга
В узле: 1
9
8006-1703486
Тяга
В узле: 1
10
371310
Болт М12х1,25-6gх45
В узле: 4
11
252137
Шайба 12 ОТ
В узле: 12
12
5336-1702236
Чехол
В узле: 4
13
6923-1702010-01
Механизм переключения передач
В узле: 1
14
250513
Гайка М10х1-6Н
В узле: 6
15
252136
Шайба 10 ОТ
В узле: 6
16
206498
Болт 3М8-6gх20
В узле: 2
17
252135
Шайба 8Т
В узле: 6
18
6923-1703472
Кронштейн
В узле: 1
19
250977
Гайка М12х1,25-5Н6Н
В узле: 1
20
258040
Шплинт 3,2х25
В узле: 1
21
250510
Гайка М8х1-6Н
В узле: 4
22
6923-1703490
Тяга
В узле: 1
23
8006-1703438
Тяга
В узле: 1
24
252006
Шайба 10
В узле: 2
25
8006-1703290
Корпус
В узле: 1
26
7909-1703448
Муфта обжимная
В узле: 2
27
378057
Шпонка 5х7,5
В узле: 4
28
371309
Болт М12х1,25-6gх35
В узле: 8
29
79301-1703270
Кронштейн
В узле: 1
30
8006-1703445
Тяга
В узле: 1
31
8006-1703447
Тяга
В узле: 1
32
250975
Гайка М8х1-6Н
В узле: 1
33
79092-1703618
Ось
В узле: 1
34
252005
Шайба 8
В узле: 5
35
252007
Шайба 12
В узле: 1
36
258025
Шплинт 2,5х20
В узле: 1
37
201456
Болт М8-6gх20
В узле: 4
Содержащиеся в справочниках-каталогах запасные части и детали не предлагаются к продаже, а носят исключительно информационный характер

Ваша заявка была отправлена. В ближайшее время наши специалисты с Вами свяжутся по указанному Вами телефону.

Представьтесь
Поле обязательно для заполнения
Ваш телефон
Введите правильный номер телефона
E-mail
Введите правильный e-mail
Тема
Тема
применяемость финансирование доставка цена, наличие другое сервис и гарантия
Время для звонка
08:00
08:00 09:00 10:00 11:00 12:00 13:00 14:00 15:00 16:00 17:00 18:00 19:00
19:00
08:00 09:00 10:00 11:00 12:00 13:00 14:00 15:00 16:00 17:00 18:00 19:00

Мы постараемся перезвонить в указанное время

Если вы не хотите ждать, то звоните нашим вежливым консультантам:

8 800 100-2-700
Подтвердите, что вы не робот
Подтвердите, что вы не робот
Спасибо!

Ваше сообщение успешно отправлено!

ЗакрытьПовторить попытку